
谷歌眼鏡可以說是當前最熱門的智能可穿戴設備,而除了谷歌之外,許多公司似乎也瞄準了這一領域。之前有媒體報道三星將在9月的IFA上推出自己的智能眼鏡,現在看來來自中國的聯想公司也準備進軍智能眼鏡市場。
根據國外媒體報道,聯想公司向美國專利和商標局遞交一份關于智能眼鏡設備的專利最近被外界曝光。這項專利聯想在2013年提交給美國專利局申請。從專利文檔的描述來看,這仍然是一款輔助智能手機、平板電腦的設備。
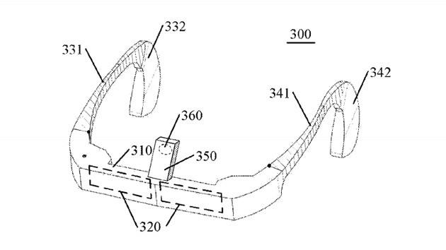
根據專利介紹來看,該專利名為“電子設備和音頻捕捉方式”,設備的外形類似于眼鏡,通過骨傳導技術用于錄音,并向用戶反饋相關的內容。設備的中間有個凸起的部分,當你佩戴時,這塊是直接架在你鼻子上的,這樣可以更直接地利用骨傳導技術捕捉聲音,因此即使很小聲的說話,對方也能聽得清。
在可穿戴領域中骨傳導技術并不新鮮,聯想的骨傳導模塊位于鼻尖處,便于收集用戶聲音。通過骨傳導模式意味著不必與環境噪音對比進行降噪處理,并基于該特性可以提供隱私程度更高的秘密網絡通話,用戶不需要太大聲對方就能清晰的聽到。
綜合來看,聯想公司申請的這項專利看上與其說是一款可穿戴設備,不如說更像是一款錄音或者錄像設備。目前還不清楚這項專利是否已經獲批、以及該專利何時可以投入市場。














全球未來10大最酷洗衣機
據說這46招能讓你變得更聰明
逆天了!這些發明居然是出自科幻小說
我們未曾在意的10項重要技術
中國文化中的神仙都是怎么誕生的
盤點全球八個最好和最差的電能來源
拯救地球10大新技術 沼氣池也光榮入選
全球訪問量最NB的17個網站,有你常去的嗎?
